Warenkorb

Es gibt keine Treffer zu Ihrer Suche

115352

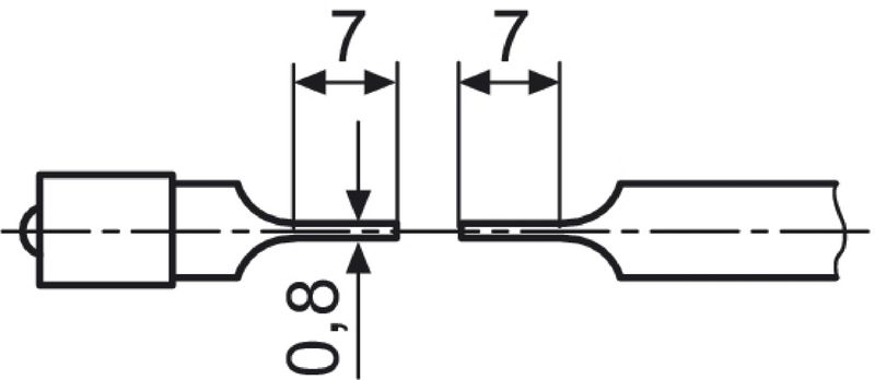
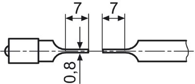
Bügelmessschraube digital MAHR Micromar 40 EWR-S/EWRi-S Messflächen schneidenförmig IP65

DIN 863-3

Digitale Bügelmessschraube Micromar 40 EWR-S/EWRi-S mit schneidenförmigen Messflächen. Zum Messen von schmalen Nuten, Einstichen usw.

Ausführungen:
115352.0100...115352.0400: Typ EWR-S Datenausgang MarConnect (Bidirektional), USB, Digimatic
115352.1100...115352.1400: Typ EWRi-S Integrated wireless

Merkmale:
  • LCD-Anzeige
  • REFERENCE-System
  • RESET (Nullstellen der Anzeige)
  • TOL (Toleranz- und Warngrenzen-Eingabe),
  • HOLD (Messwertspeicher)
  • Umschaltung mm/Zoll
  • QUIK DRIVE (Spindelschnellverstellung)
  • ABS (Umschaltung Relativ-/Absolutmodus)
  • LOCK (Tastatursperre)
  • ORIGIN (Massvoreinstellung)
  • DATA (Datenübertragung)

Lieferumfang:
Geliefert in Etui inkl. Einstellmass (ab 25 mm).

Passende Batterien:
1 Stück 155051.0545 - CR2032 / 3.0 V (im Lieferumfang enthalten)

Batterie NR 155050.1400 / CR2023
Zubehör 109275
8 gefundene Artikel
FILTER

alle Filter anzeigen
Typ
Typ

Filter löschen
Messbereich [mm]
Messbereich [mm]

Filter löschen
Auflösung [mm]
Auflösung [mm]

Filter löschen
Genauigkeit [µm]
Genauigkeit [µm]

Filter löschen
Artikel Nr
Bezeichnung
Typ
EWR-S - EWRi-S
Messbereich [mm]
0...25 - 75...100
Auflösung [mm]
0.001
Genauigkeit [µm]
4 - 5
Messspindel Ø [mm]
6.5
Messflächen [mm]
0.8 x 7
Spindelsteigung [mm]
5
Schutzart
IP65
Ziffernhöhe [mm]
10
Datenausgang
Ausführung
Datenausgang MarConnect (Bidirektional),... - Integrated wireless
Netto HUF
zzgl. Versand
Staffelung
Netto HUF
zzgl. Versand
Menge
115352.0100
Bügelmessschraube dig Micromar 40 EWR-S Messflächen schneidenförmig
0...25 / 0.001 / 0.8 x 7 / IP65
EWR-S
0...25
0.001
4
Artikel Details Zubehör Batterien
Loading...
Loading...
115352.0200
Bügelmessschraube dig Micromar 40 EWR-S Messflächen schneidenförmig
25...50 / 0.001 / 0.8 x 7 / IP65
EWR-S
25...50
0.001
4
Artikel Details Zubehör Batterien
Loading...
Loading...
115352.0300
Bügelmessschraube dig Micromar 40 EWR-S Messflächen schneidenförmig
50...75 / 0.001 / 0.8 x 7 / IP65
EWR-S
50...75
0.001
5
Artikel Details Zubehör Batterien
Loading...
Loading...
115352.0400
Bügelmessschraube dig Micromar 40 EWR-S Messflächen schneidenförmig
75...100 / 0.001 / 0.8 x 7 / IP65
EWR-S
75...100
0.001
5
Artikel Details Zubehör Batterien
Loading...
Loading...
115352.1100
Bügelmessschraube dig Micromar 40 EWRi-S Messflächen schneidenförmig
0...25 / 0.001 / 0.8 x 7 / IP65
EWRi-S
0...25
0.001
4
Artikel Details Zubehör Batterien
Loading...
Loading...
115352.1200
Bügelmessschraube dig Micromar 40 EWRi-S Messflächen schneidenförmig
25...50 / 0.001 / 0.8 x 7 / IP65
EWRi-S
25...50
0.001
4
Artikel Details Zubehör Batterien
Loading...
Loading...
115352.1300
Bügelmessschraube dig Micromar 40 EWRi-S Messflächen schneidenförmig
50...75 / 0.001 / 0.8 x 7 / IP65
EWRi-S
50...75
0.001
5
Artikel Details Zubehör Batterien
Loading...
Loading...
115352.1400
Bügelmessschraube dig Micromar 40 EWRi-S Messflächen schneidenförmig
75...100 / 0.001 / 0.8 x 7 / IP65
EWRi-S
75...100
0.001
5
Artikel Details Zubehör Batterien
Loading...
Loading...
8 gefundene Artikel
zzgl.
pro